The BikeErg provides a range of settings for the saddle and handlebars so that you can find the position that is most comfortable and effective for you Here are instructions and recommendations to get you started

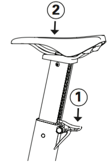
How to Adjust the Saddle
- To lower the saddle: Release the ratchet by pressing down on the lever (1, right). Press the saddle down to the desired position (2, right). Release the lever to lock into position.
- To raise the saddle: Pull upwards to desired height. Confirm that the ratchet has locked into position before use.
- The fit of the seat post into the back leg has been adjusted at the factory to allow for easy movement.
- The frame geometry is designed so that raising the saddle also moves the rider back, maintaining the correct relationship to the pedals. For general use, the saddle placement on top of the seat post will not need adjustment. For fine tuning the horizontal position and saddle angle, adjustments can be made using a 1/2”or 13mm wrench (not included).
Recommendations for Saddle Position
- While riding: With the ball of your foot on the pedal, your leg should maintain a slight bend at maximum extension.
- While sitting on the saddle: Determine a comfortable seat height by placing your heel on the down pedal with your leg straight. If you are stretching to reach the pedal, lower the saddle. If you cannot straighten your leg, raise the saddle.

How to Adjust the Handlebars
- To lower the handlebars: Loosen the adjustment knob (1, right). Release the ratchet by pressing down on the lever (2, right). Push the handlebars down to the desired position. Release the lever to lock it into position and retighten the adjustment knob.
- To raise the handlebars: Loosen the adjustment knob (1, right) and pull upwards to desired height. Confirm that the ratchet has locked into position and retighten the adjustment knob.
- To adjust the handlebar reach position: Loosen the adjustment knob (3, right) and slide handlebars forward or back as desired. Retighten the adjustment knob.
Customize
The connection points between the BikeErg and pedals, saddle, and handlebars are standard to most bicycle components, allowing the use of owner-supplied components, if desired. When substituting components, be sure to use parts that are recommended for exercise bikes. Warning: Third party pedals and handlebars are often not suitable for the forces on stationary exercise bikes. Note: Warranty does not cover use of the BikeErg with parts or accessories from third parties.